歐盟認證快訊:徐州科利達電控科技有限公司獲得歐盟強制CE認證證書;徐州科利達電控科技有限公司生產的料流檢測器、雙極跑偏開關、雙向拉繩開關、撕裂檢測器、速度檢測器等通過歐盟認證BST公告機構的CE認證安全評估,產品各項指標符合歐盟強制認證法規要求并取得CE認證證書。在此表示祝賀。登陸歐盟市場滿足歐盟法規要求,CEEU做您全球戰略布局基礎;

前 言
ICS 系列型電子皮帶秤給煤機 ,系燃煤電廠和煉鐵廠高爐噴粉制粉系統的重要組成部分。其性能直接關系磨煤機連續正常運行和煤耗計算的準確度,本設備是基于電力系統國內外同類產品的運行情況研制而成,力求更加完善,性能更好。
該產品不僅適用于電力系統燃煤機組,同時又適用于冶金、礦山、化工、建筑、糧食加工運輸等行業的散裝連續秤重。
本產品屬全密封式工作狀態,不產生環境污染。可為各種型號的磨煤機連續、穩定、精確地給煤。在負壓、常壓、正壓下均可正常運行。既可就地操作,也可搖控,與主控室聯網后,可自動調整給煤量。本產品出廠前均在廠內作模擬運行試驗,對其運行參數進行試整定,從而確保產品出廠質量。
1、ICS電子皮帶秤給煤機主要技術參數
ICS30
ICS40
ICS50
ICS60
ICS80
ICS
公稱出力(t/h)
30
40
50
60
80
100
出力范圍(t/h)
5~35
5~46
5~55
5~70
18~90
25~115
計量精度(%)
±0.5
給煤距離(mm)
根據用戶要求確定
電動機功率(KW)
2.2或3.0
4.0
煤質要求
密度(t/m3)
0.7~1.1
粒度
≤50
水分(%)
≤21
注:表中出力指煤的密度為900Kg/m3時的出力。
2、ICS電子秤皮帶給煤機主要技術參數2.1技術參數
標定給煤量100t/h 最小、最大給煤量10~100 t/h
計量精度≤±0.5% 控制精度≤±0.5%
皮帶驅動電機及減速機:斜齒輪-傘齒輪減速機,變頻電動機功率為4Kw
清掃鏈驅動電機及減速機:斜齒輪-傘齒輪減速機,電動機功率為0.37Kw
給煤中心距:2800mm
輸送皮帶:帶裙邊O形無接頭皮帶,寬度1000mm
機身:長×寬×高: 4600×2200×1740 mm
本體重量:4t
2.2產品對煤質要求
2.2.1.適應堆積煤比重范圍0.7-1.1t/m3
2.2.2.粒度≤50mm
2.2.3.表面水分≤21%
3、供貨范圍 自儲煤倉下口法蘭至磨煤機落煤倉落煤管上口處,分三個分部及一個控制柜。
3.1 一分部為電動上閘閥。即從儲煤倉下口法蘭至給煤機本體入口止。圖一中1。
3.2.二分部為本體。圖一中2。
3.3.三分部為電動下閘閥。即從給煤機下出口處至磨煤機落煤管入口。圖一中3。
3.4.四分部為控制柜。圖一中4 。
4.產品結構4-1.電動上閘閥
詳見“SZhF00型電動上閘閥”使用說明書。


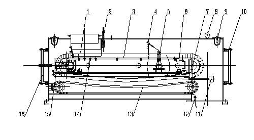
4.2.本體
1.進煤斗 2.煤層高度調節擋板 3.皮帶 4.斷煤信號器 5.計量系統 6.跑偏開關 7.主動滾筒 8.溫度報警器 9.照明燈 10.前檢修門 11.膠帶外部清掃機構 12.堵煤信號器 13. 鏈式清掃機構 14.托輥 15.皮帶張緊裝置 16.后檢修門
4.2.1.出口擋板
4.2.1.出口擋板
當煤由上閘閥落到皮帶上后,為控制皮帶運轉時在皮帶上煤的厚度,所以在其出口處設有一擋板,這塊擋板在皮帶上按一定幾何形狀,形成一定的煤層厚度。設定最大高度為230mm。使用高度200mm。
出口擋板可通過殼體上的上孔門安裝,此上孔門還作為當出口處有大塊煤或其他異物擋住時處理故障之用。
4.2.2.皮帶后堵板
后堵板作用有二。其一:限制落到皮帶上的煤向后流動。其二:當落下的煤中夾雜著異物,長板,木條及大塊煤,無法通過擋板傳輸,也無法從上孔門取出時,就需停機打開后堵板來解決(注意:在打開后堵板時必須將上閘閥關上)。
4.2.3.皮帶上煤層厚度低于80mm時報警
給煤機出廠時其設定煤層厚度為200mm, 當煤層厚度由于斷煤降到80mm時,認定缺煤或斷煤,發出電信號報警。
4.2.4.上下限電接點溫度計
當儲煤倉中煤儲滿后,由于溫度等因素可能出現自燃現象。隨著下落煤流中夾雜高溫自燃煤,使給煤機內溫度上升到75℃時,溫度計就發出警報信號,操作員接入消防蒸汽滅火降溫。
4.2.5.輸送皮帶
輸送皮帶系無接頭○型皮帶,由橡膠研究院專門研制,皮帶彈性好,采用伸長率較低骨架,壽命保證18個月。皮帶兩邊設有80mm裙邊,皮帶背面中部設有導向軌條,防止跑偏,采用阻燃性皮帶材質.
4.2.6.主滾筒減速機
主滾筒驅動電動機功率小,采用大速比減速機以獲得較大的轉矩。該機采用變頻器調速,控制柜根據給定信號,改變電動機電源頻率,而輸送相應的煤量給磨煤機。
4.2.7.清掃電機
為清除殼體內皮帶泄落物而設計,此部分電機功率為0.37kw,轉速為1450轉/分(銘牌), 減速后輸出轉速≈2轉/分。刮板鏈條以1423mm/分慢速清掃泄落物, 噪音小,運行平穩。
4.2.8.清掃鏈
清掃鏈材質為耐磨鋼精密鑄造而成,采用雙排結構。
4.2.9速度傳感器
采集皮帶速度。裝于主滾筒電機尾端,測速穩定。
4.2.10.稱重傳感器
稱重傳感器是計量核心元件,系公司原裝進口。稱重傳感器發出的電信號經微機處理后在控制柜表盤上顯示計量數據。
4.2.11.堵煤信號
堵煤信號機構設在出煤口短節處的漿頁板,當落煤堵塞時,煤流堆積使漿頁板位移,與行程開關相撞,接通線路使主電機停機,達到互鎖目的.
4.2.12.照明燈
照明燈設在給煤機內,以便觀察設備運行狀態,其電壓32V,使用36V燈泡是為提高燈泡使用壽命。
4.2.13.窺視孔
本機設有四個窺視孔,以備觀察機體內各部件的運行情況。
4.3. 電動下閘閥
詳見“XZhF00型電動下閘閥”使用說明書。
5.設備維修及保養5.1.潤滑部件定期加潤滑脂。
5.1.1.給煤機傳動部分在軸兩端分別有注油嘴以便定期注油保養。
5.1.2.每次加油量4-6g。
5.1.3.加油種類為鈣基脂黃油。如用不同種類油脂,首先將新油脂與原油脂混合后看是否產生結塊等不良變化。
5.1.4.加油時間:新裝機起動后,一年加一次油。
5.2.皮帶的檢修
5.2.1.首先關閉全部電源。
5.2.2.打開前后二個端門。
5.2.3. a:拆卸主電機線。b:拆卸主電機、減速機(一組)。
5.2.4.拆卸
5.2.4.1.松開張緊螺栓。(兩條要同步松,以免松得過多或過少,使滾筒傾斜造成螺栓彎曲變形) 使皮帶全部放松。
5.2.4.2. 拆卸側門后,從側門拆卸全部皮帶托輥。
5.2.4.3. 卸下減速機,將兩側軸承緊定螺釘松開,拆卸兩側軸承座螺栓,取下軸承座,再拆卸兩側內圓法蘭螺栓,用此螺栓頂出內圓法蘭,將一側加檢修延伸套管后,吊起主滾筒從電機側慢慢將主滾筒平移出殼體。
5.2.4.4.拆卸拉緊螺栓套及滑道固定端板螺栓后,將從動輥及皮帶從端門處拉出殼體,更換新皮帶。
5.2.5.回裝
5.2.5.1.先將皮帶送入殼體,將從動輥套裝在皮帶內,向主滾筒方向拉皮帶,從側門處逐個套裝上托輥在皮帶內,將皮帶向主滾筒方向拉到頭后,將主滾筒一側加檢修延伸套管后,吊起主滾筒對準軸孔從電機側慢慢將主滾筒平移送入殼體后,再回裝兩側內圓法蘭,用螺栓緊固好,回裝兩側軸承座,用螺栓緊固好,將主滾筒對中后,再將兩側軸承緊定螺釘鎖緊。
5.2.5.2. 回裝上滑道固定端板用螺栓緊固好,回裝上兩個拉緊螺栓套,旋緊拉緊螺栓套(兩條要同旋緊,以免緊得過多或過少,使滾筒傾斜造成螺栓彎曲變形) 使皮帶下側與主滾筒及從動輥兩滾筒下側平齊即可。
5.2.5.3.新換皮帶要空轉10分鐘后不跑偏方可投入運行。運行半個小時要有人在現場監視,以備隨時調整,運行人員每班觀察運行情況。
5.3.托輥的檢修
5.3.1.各個托輥及一個計量輥其轉動部分相同。
5. 3.2.托輥回裝
托輥的同軸度≤0.5 托輥平面度≤0.1
就位后每個輥空載摩擦力手感應相差無幾。
5.3.3.主滾筒及從動滾筒在檢修時,所加的潤滑油可與托輥用同類油脂,以備運行時加油的統一,建議使用普通鈣質脂。
5.3.4.皮帶煤層厚度測量板及落煤管處的漿頁板(即出口處限位板)每次大修及中修時,加一次潤滑油,每處加4-6g。
5.3.5.輸煤架回裝完畢,檢查全部零部件是否完善,滾輪及皮帶是否有偏心現象。
5.3.6低速啟動給煤機檢查皮帶是否跑偏,有無異常噪音等現象。經20分鐘空運行后,確認無問題后可升速到50HZ再轉5-6分鐘無異常,方可投入運行。
5.3.7.兩臺減速機的潤滑要求每半年更換一次新油,加新油時, 應將原有潤滑脂清除干凈后,加入新油至水平軸中線以下20mm即可。
5.4.清掃鏈的檢修
清掃鏈的檢修主要是傳動軸端加油孔大、 中修時加一次油(4~6g)。
6.給煤機的調整6.1.皮帶張緊輪的調整
皮帶的調整,在出廠前已經作過,但在運行時,由于負載的變化,及長期運行,皮帶有可能伸長,使張緊度變化,從而使給煤機計量等出現誤差,所以新皮帶運行第一周內,應從四個窺視孔及時觀察皮帶運行情況,從端部螺絲處調整皮帶。
在調整皮帶松緊時,兩側螺絲長要等距,然后緊螺絲,每次不超過兩圈。 精調時,旋轉的螺拴每次不超過半圈(即180°),而且兩端要均衡進行, 否則易于出現螺栓彎曲、皮帶跑偏。
更換新皮帶時,要求空載運行至少半小時,而且要隨時調整皮帶對中,當偏心時,皮帶內側的導軌將跑出軌槽,使皮帶外側凸起,運行要隨時調整,否則偏心運行將造成皮帶撕毀。
6.2.皮帶對中調整
當皮帶對中運行時,皮帶將沿著內側導向梯形導軌不偏不斜地滑動,當皮帶跑偏后,皮帶將從主動輪或從動輪中心導槽向一邊凸起。這說明主動輪或從動輪不平行,故皮帶跑偏。如果向右凸起,可緊左側螺絲,這樣皮帶將向左移動,直到對中為止,反之亦然(從緊螺絲方向看)。
在調整過程,不宜一次調整量過大,因調整過大皮帶會立即跑出導軌槽外,造成損傷。所以要求電機在低速時起動,邊旋轉,邊調整,最后使皮帶不凸起為準。
也可測量皮帶寬度與滾筒寬度的差值,看在兩邊是否相同,以此作為參考依據,但最終必須以運行平穩、皮帶不跑偏為準。
7.安裝7.1.給煤機安裝時首先核對聯接結構尺寸。
7.2.校對給煤機進口及出口中心距離。
本廠給煤機中心距(根據技術協議制作)與現場中心距尺寸應該吻合, 若有差異,則應對給煤機聯接管道作相應修改以相適應。
7.3.安裝基礎
按給煤機基礎圖確定預埋件位置,具體尺寸按所供圖紙核對。
首先清理干凈預埋件,就位給煤機,用斜墊鐵找水平后點焊固定,然后固定就位螺栓,最后進行二次灌漿。注意四條螺拴緊固力要均勻。
7.4.就位后的軟聯接
當給煤機固定后,再將上閘閥下圓筒上的短節落下,與給煤機作軟聯接。
注意在作聯接前,卸下給煤機后門,再卸掉后擋板,并在皮帶上墊一塊鐵板,以防從上掉下的重物及電焊高溫氧化飛濺物燒傷皮帶。
8.開機8.1.開主電機10分鐘空轉,觀察有無異常現象。
8.2.打開上、下電動閘閥。
8.3.啟動清掃鏈。
8.4.從窺視孔觀察運行情況。
8.5.啟動。